mobile_sound +7 (930) 655-55-90

Типовые конструкции и железобетонные изделия. Рабочие чертежи (Серия 1.141.1-29с)

Поделиться:
Поделиться:

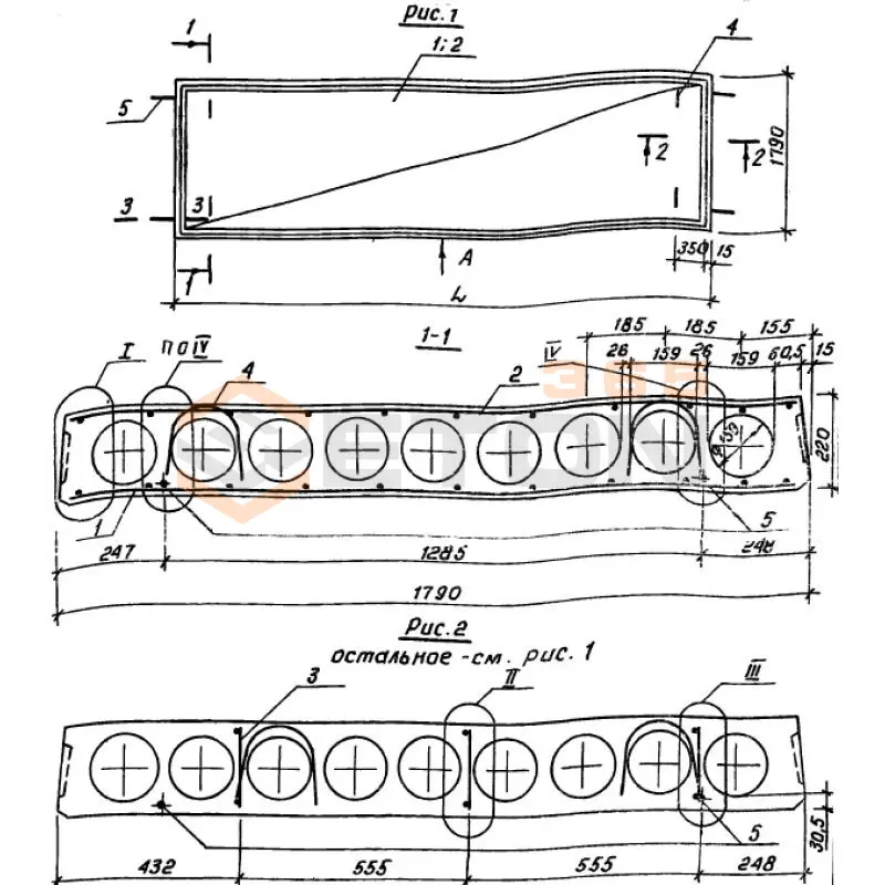
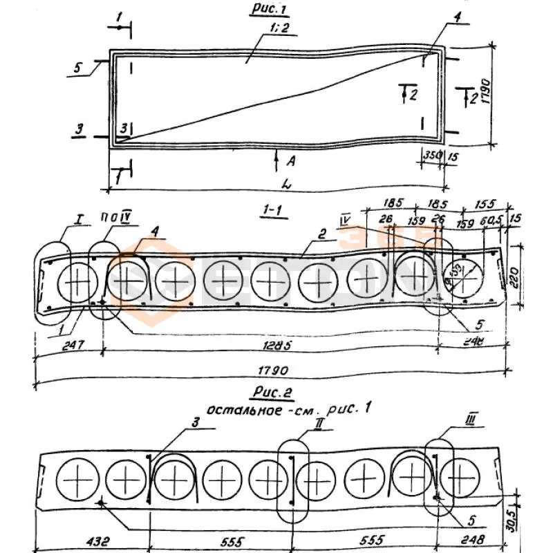
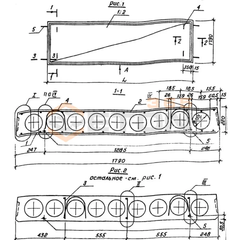
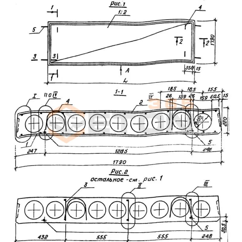
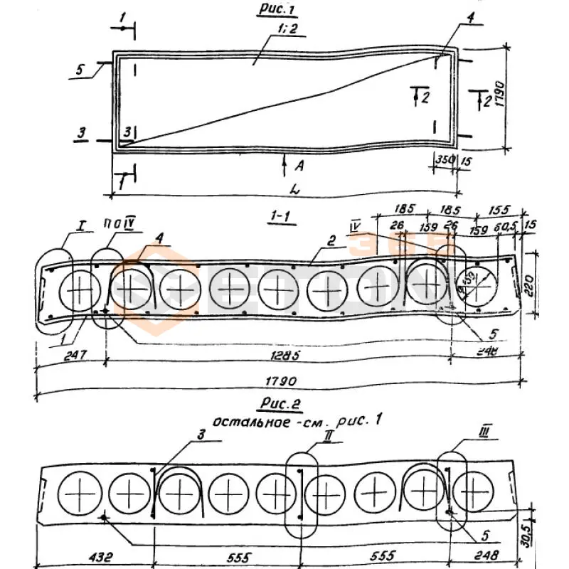
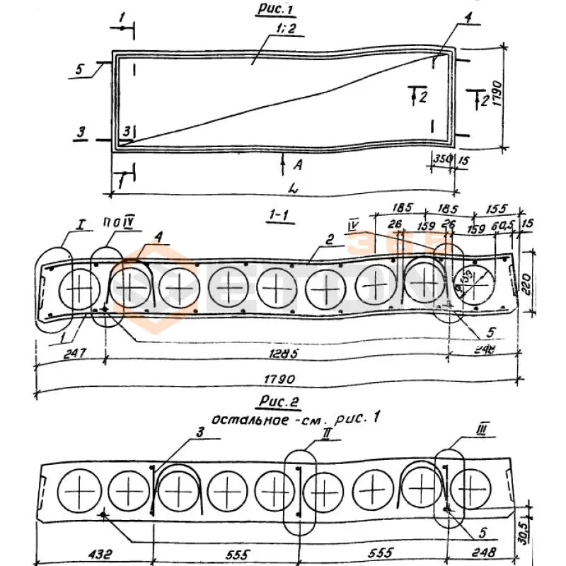
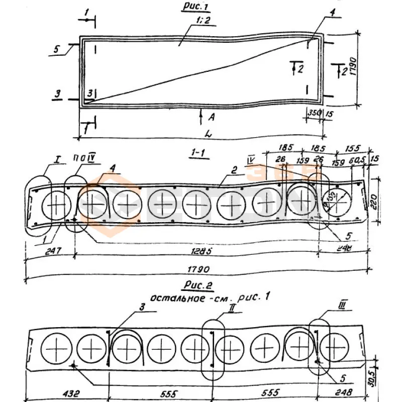
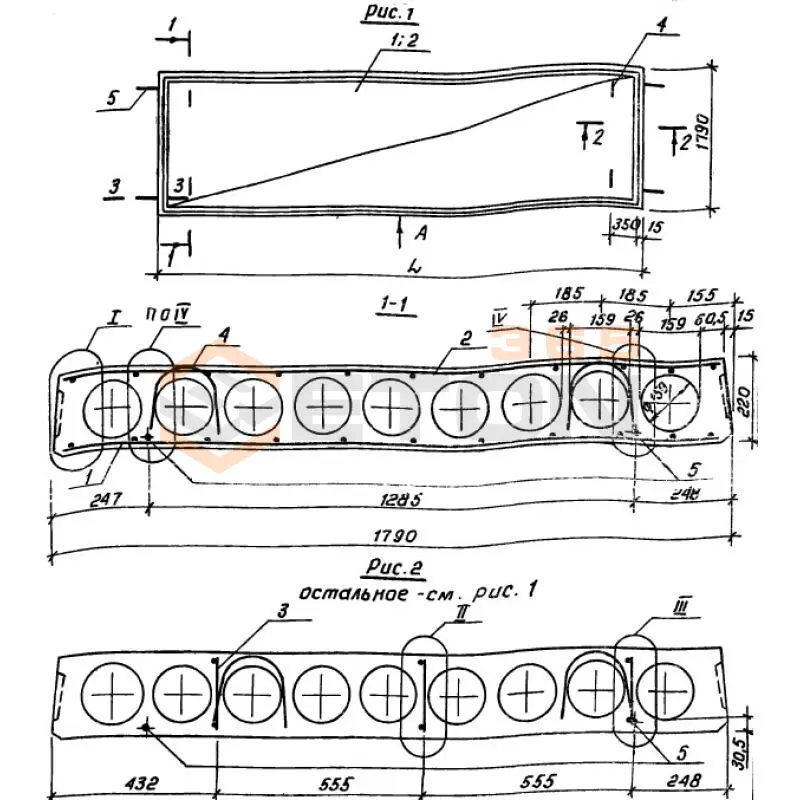
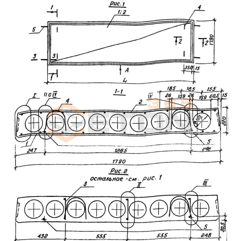
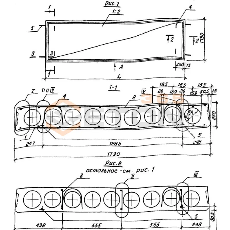
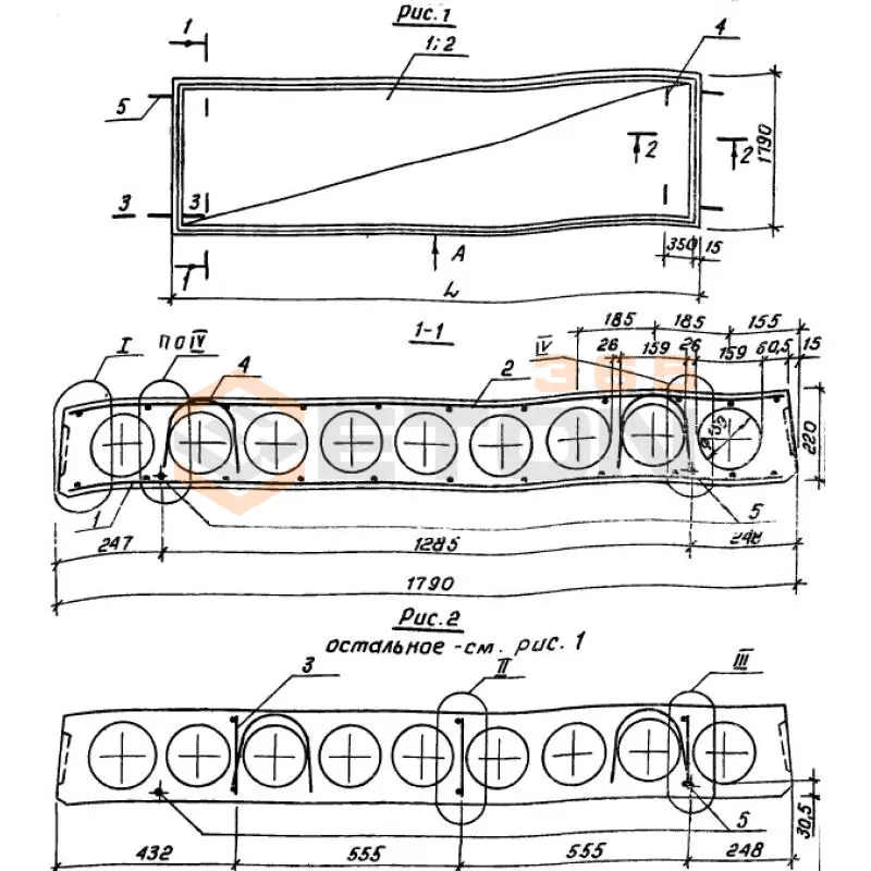
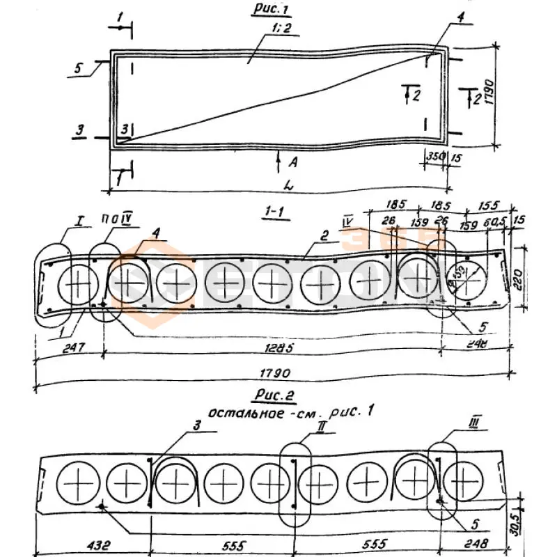
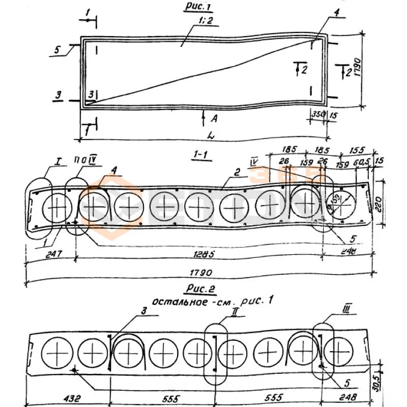
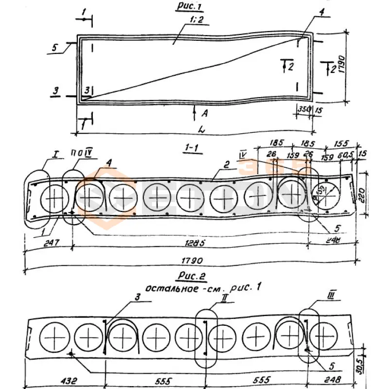
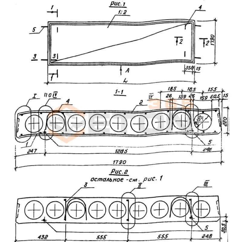
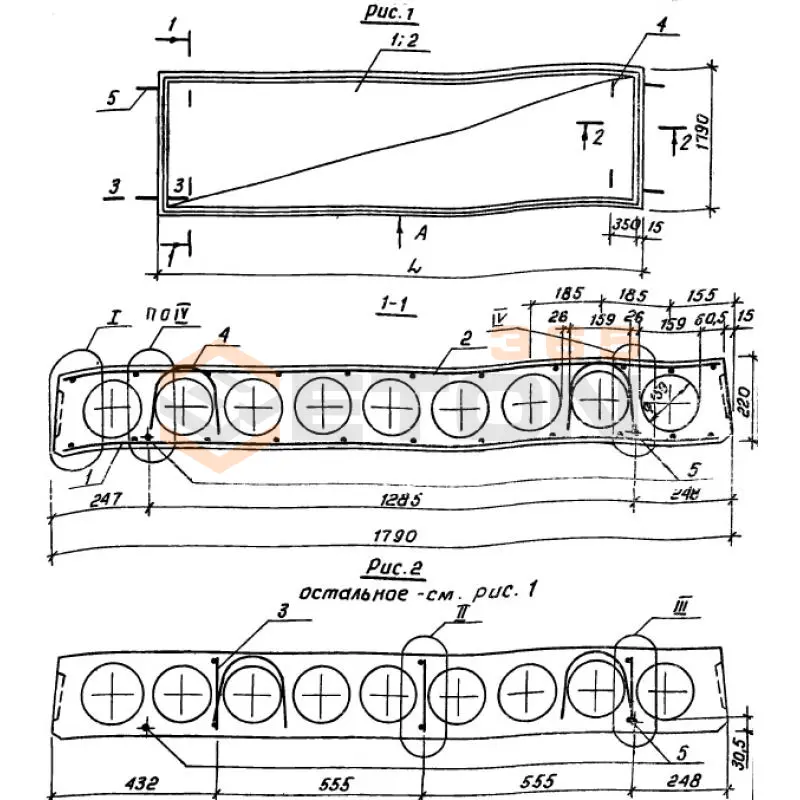
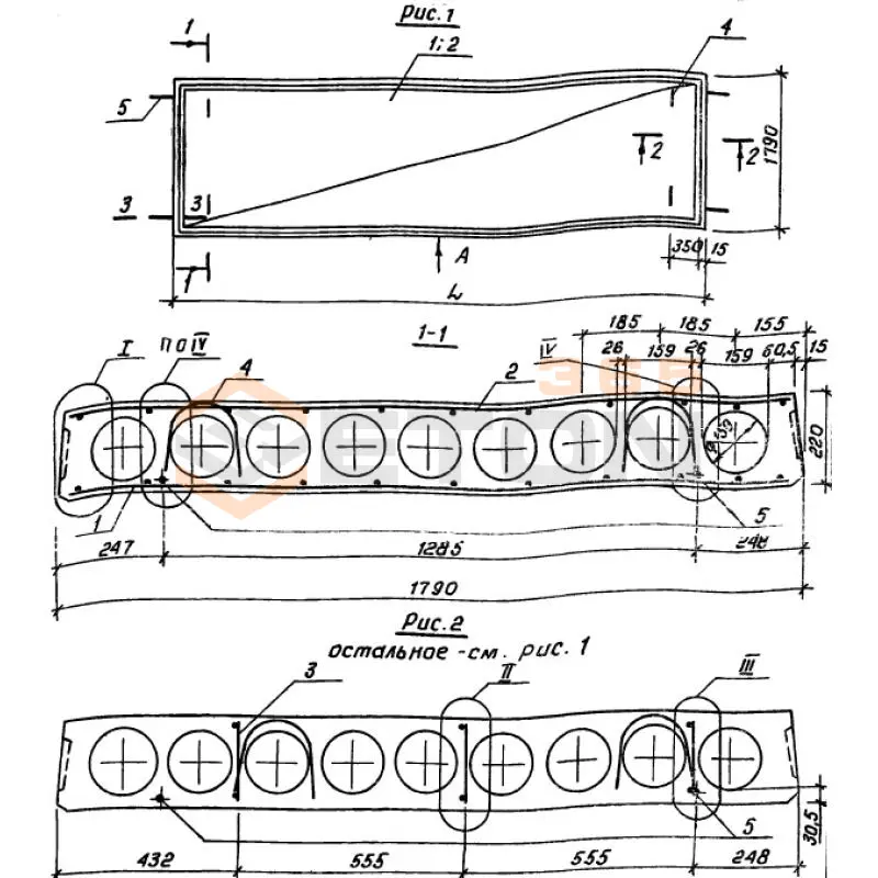
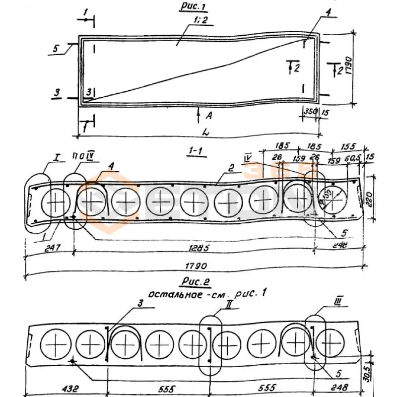
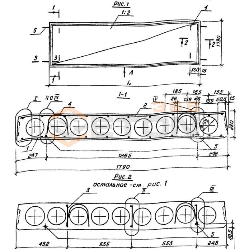
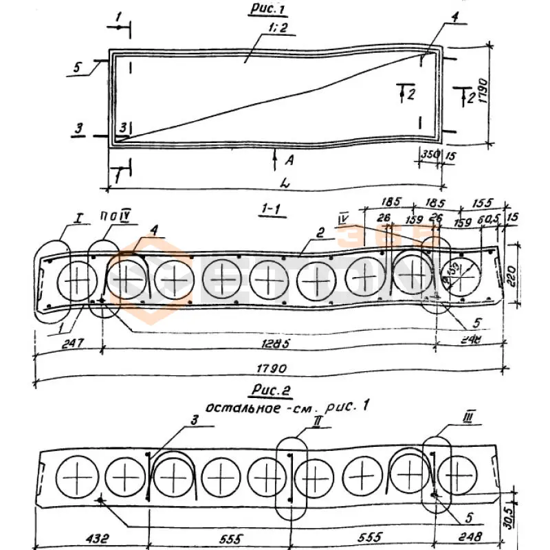
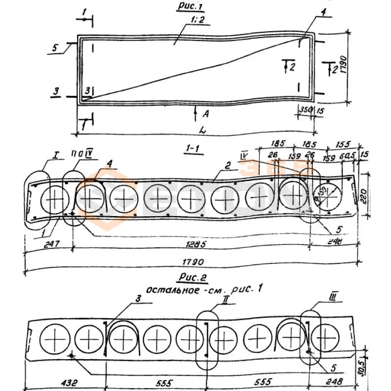
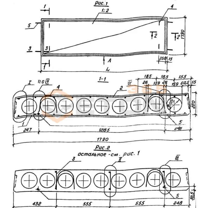
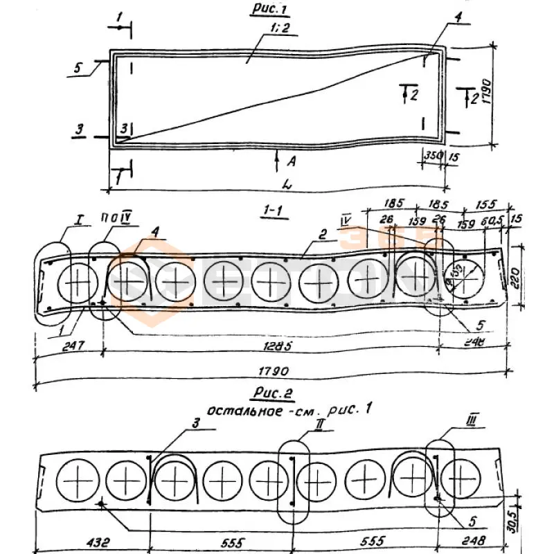
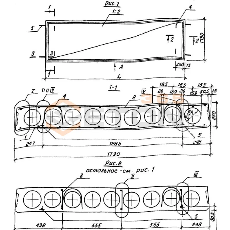
Документ Серия 1.141.1-29с описывает область применения, номенклатуру и ключевые требования, опираясь на действующие нормы и практику проектирования. Серия 1.141.1-29с была разработана Центральным институтом типового проектирования ГОССТРОЯ СССР совместно с институтом ТАШЗНИИЭП и введён в действие после утверждения с 1986 года. Целью проектирования входящих в состав нормативного документа конструкций стала необходимость в материалах по удовлетворению потребностей различных строительных организаций по возведению жилых домов и общественных зданий на территориях с сейсмичностью до 9 баллов. Регламент описывает производство многопустотных плит перекрытий из железобетона, отличающихся высокой прочностью и прекрасно подходящих для эксплуатации в сейсмоактивных зонах.

Файлы для скачивания:
picture_as_pdf

5460.pdf

4,050.1 KB

скачать
picture_as_pdf

5461.pdf

1,161.0 KB

скачать
picture_as_pdf

5462.pdf

1,089.3 KB

скачать
Товары Серия 1.141.1-29с (60)
ПК 23-15-6 ВрIт с7а (1.141.1-29с)
Плиты перекрытия многопустотные Серия 1.141.1-29с
  • Длина 2260 мм.
  • Ширина 1490 мм.
  • Высота 220 мм.
  • Вес 1125 кг.
  • Объем бетона 0,45 м3
  • Геометрический объем 0,7408 м3
Цена: 8730 руб.
Подробнее
ПК 23-15-6 ВрIт с8 (1.141.1-29с)
Плиты перекрытия многопустотные Серия 1.141.1-29с
  • Длина 2260 мм.
  • Ширина 1490 мм.
  • Высота 220 мм.
  • Вес 1075 кг.
  • Объем бетона 0,43 м3
  • Геометрический объем 0,7408 м3
Цена: 8342 руб.
Подробнее
ПК 23-15-6 ВрIт с9 (1.141.1-29с)
Плиты перекрытия многопустотные Серия 1.141.1-29с
  • Длина 2260 мм.
  • Ширина 1490 мм.
  • Высота 220 мм.
  • Вес 1075 кг.
  • Объем бетона 0,43 м3
  • Геометрический объем 0,7408 м3
Цена: 8342 руб.
Подробнее
ПК 23-15-6 ВрIт с9а (1.141.1-29с)
Плиты перекрытия многопустотные Серия 1.141.1-29с
  • Длина 2260 мм.
  • Ширина 1490 мм.
  • Высота 220 мм.
  • Вес 1125 кг.
  • Объем бетона 0,45 м3
  • Геометрический объем 0,7408 м3
Цена: 8730 руб.
Подробнее
ПК 23-15-4 ВрIт с9а (1.141.1-29с)
Плиты перекрытия многопустотные Серия 1.141.1-29с
  • Длина 2260 мм.
  • Ширина 1490 мм.
  • Высота 220 мм.
  • Вес 1125 кг.
  • Объем бетона 0,45 м3
  • Геометрический объем 0,7408 м3
Цена: 8730 руб.
Подробнее
ПК 23-15-6 ВрIт с8а (1.141.1-29с)
Плиты перекрытия многопустотные Серия 1.141.1-29с
  • Длина 2260 мм.
  • Ширина 1490 мм.
  • Высота 220 мм.
  • Вес 1125 кг.
  • Объем бетона 0,45 м3
  • Геометрический объем 0,7408 м3
Цена: 8730 руб.
Подробнее
ПК 23-15-8 ВрIт с7 (1.141.1-29с)
Плиты перекрытия многопустотные Серия 1.141.1-29с
  • Длина 2260 мм.
  • Ширина 1490 мм.
  • Высота 220 мм.
  • Вес 1075 кг.
  • Объем бетона 0,43 м3
  • Геометрический объем 0,7408 м3
Цена: 8342 руб.
Подробнее
ПК 23-15-8 ВрIт с8 (1.141.1-29с)
Плиты перекрытия многопустотные Серия 1.141.1-29с
  • Длина 2260 мм.
  • Ширина 1490 мм.
  • Высота 220 мм.
  • Вес 1075 кг.
  • Объем бетона 0,43 м3
  • Геометрический объем 0,7408 м3
Цена: 8342 руб.
Подробнее
ПК 23-15-8 ВрIт с7а (1.141.1-29с)
Плиты перекрытия многопустотные Серия 1.141.1-29с
  • Длина 2260 мм.
  • Ширина 1490 мм.
  • Высота 220 мм.
  • Вес 1125 кг.
  • Объем бетона 0,45 м3
  • Геометрический объем 0,7408 м3
Цена: 8730 руб.
Подробнее
ПК 23-15-8 ВрIт с9 (1.141.1-29с)
Плиты перекрытия многопустотные Серия 1.141.1-29с
  • Длина 2260 мм.
  • Ширина 1490 мм.
  • Высота 220 мм.
  • Вес 1075 кг.
  • Объем бетона 0,43 м3
  • Геометрический объем 0,7408 м3
Цена: 8342 руб.
Подробнее
ПК 23-15-8 ВрIт с8а (1.141.1-29с)
Плиты перекрытия многопустотные Серия 1.141.1-29с
  • Длина 2260 мм.
  • Ширина 1490 мм.
  • Высота 220 мм.
  • Вес 1125 кг.
  • Объем бетона 0,45 м3
  • Геометрический объем 0,7408 м3
Цена: 8730 руб.
Подробнее
ПК 23-18-3 ВрIт с7 (1.141.1-29с)
Плиты перекрытия многопустотные Серия 1.141.1-29с
  • Длина 2260 мм.
  • Ширина 1790 мм.
  • Высота 220 мм.
  • Вес 1225 кг.
  • Объем бетона 0,49 м3
  • Геометрический объем 0,89 м3
Цена: 9506 руб.
Подробнее
ПК 23-15-8 ВрIт с9а (1.141.1-29с)
Плиты перекрытия многопустотные Серия 1.141.1-29с
  • Длина 2260 мм.
  • Ширина 1490 мм.
  • Высота 220 мм.
  • Вес 1125 кг.
  • Объем бетона 0,45 м3
  • Геометрический объем 0,7408 м3
Цена: 8730 руб.
Подробнее
ПК 23-18-3 ВрIт с7а (1.141.1-29с)
Плиты перекрытия многопустотные Серия 1.141.1-29с
  • Длина 2260 мм.
  • Ширина 1790 мм.
  • Высота 220 мм.
  • Вес 1275 кг.
  • Объем бетона 0,52 м3
  • Геометрический объем 0,89 м3
Цена: 10088 руб.
Подробнее
ПК 23-18-3 ВрIт с8а (1.141.1-29с)
Плиты перекрытия многопустотные Серия 1.141.1-29с
  • Длина 2260 мм.
  • Ширина 1790 мм.
  • Высота 220 мм.
  • Вес 1275 кг.
  • Объем бетона 0,52 м3
  • Геометрический объем 0,89 м3
Цена: 10088 руб.
Подробнее
ПК 23-18-3 ВрIт с8 (1.141.1-29с)
Плиты перекрытия многопустотные Серия 1.141.1-29с
  • Длина 2260 мм.
  • Ширина 1790 мм.
  • Высота 220 мм.
  • Вес 1225 кг.
  • Объем бетона 0,49 м3
  • Геометрический объем 0,89 м3
Цена: 9506 руб.
Подробнее
ПК 23-18-3 ВрIт с9а (1.141.1-29с)
Плиты перекрытия многопустотные Серия 1.141.1-29с
  • Длина 2260 мм.
  • Ширина 1790 мм.
  • Высота 220 мм.
  • Вес 1275 кг.
  • Объем бетона 0,52 м3
  • Геометрический объем 0,89 м3
Цена: 10088 руб.
Подробнее
ПК 23-18-3 ВрIт с9 (1.141.1-29с)
Плиты перекрытия многопустотные Серия 1.141.1-29с
  • Длина 2260 мм.
  • Ширина 1790 мм.
  • Высота 220 мм.
  • Вес 1225 кг.
  • Объем бетона 0,49 м3
  • Геометрический объем 0,89 м3
Цена: 9506 руб.
Подробнее
ПК 23-18-4 ВрIт с7а (1.141.1-29с)
Плиты перекрытия многопустотные Серия 1.141.1-29с
  • Длина 2260 мм.
  • Ширина 1790 мм.
  • Высота 220 мм.
  • Вес 1275 кг.
  • Объем бетона 0,52 м3
  • Геометрический объем 0,89 м3
Цена: 10088 руб.
Подробнее
ПК 23-18-4 ВрIт с7 (1.141.1-29с)
Плиты перекрытия многопустотные Серия 1.141.1-29с
  • Длина 2260 мм.
  • Ширина 1790 мм.
  • Высота 220 мм.
  • Вес 1225 кг.
  • Объем бетона 0,49 м3
  • Геометрический объем 0,89 м3
Цена: 9506 руб.
Подробнее
ПК 23-18-4 ВрIт с8 (1.141.1-29с)
Плиты перекрытия многопустотные Серия 1.141.1-29с
  • Длина 2260 мм.
  • Ширина 1790 мм.
  • Высота 220 мм.
  • Вес 1225 кг.
  • Объем бетона 0,49 м3
  • Геометрический объем 0,89 м3
Цена: 9506 руб.
Подробнее
ПК 23-18-4 ВрIт с8а (1.141.1-29с)
Плиты перекрытия многопустотные Серия 1.141.1-29с
  • Длина 2260 мм.
  • Ширина 1790 мм.
  • Высота 220 мм.
  • Вес 1275 кг.
  • Объем бетона 0,52 м3
  • Геометрический объем 0,89 м3
Цена: 10088 руб.
Подробнее
ПК 23-18-4 ВрIт с9 (1.141.1-29с)
Плиты перекрытия многопустотные Серия 1.141.1-29с
  • Длина 2260 мм.
  • Ширина 1790 мм.
  • Высота 220 мм.
  • Вес 1225 кг.
  • Объем бетона 0,49 м3
  • Геометрический объем 0,89 м3
Цена: 9506 руб.
Подробнее
ПК 23-18-4 ВрIт с9а (1.141.1-29с)
Плиты перекрытия многопустотные Серия 1.141.1-29с
  • Длина 2260 мм.
  • Ширина 1790 мм.
  • Высота 220 мм.
  • Вес 1275 кг.
  • Объем бетона 0,52 м3
  • Геометрический объем 0,89 м3
Цена: 10088 руб.
Подробнее
ПК 23-18-6 ВрIт с7 (1.141.1-29с)
Плиты перекрытия многопустотные Серия 1.141.1-29с
  • Длина 2260 мм.
  • Ширина 1790 мм.
  • Высота 220 мм.
  • Вес 1225 кг.
  • Объем бетона 0,49 м3
  • Геометрический объем 0,89 м3
Цена: 9506 руб.
Подробнее
ПК 23-18-6 ВрIт с7а (1.141.1-29с)
Плиты перекрытия многопустотные Серия 1.141.1-29с
  • Длина 2260 мм.
  • Ширина 1790 мм.
  • Высота 220 мм.
  • Вес 1275 кг.
  • Объем бетона 0,52 м3
  • Геометрический объем 0,89 м3
Цена: 10088 руб.
Подробнее
ПК 23-18-6 ВрIт с8 (1.141.1-29с)
Плиты перекрытия многопустотные Серия 1.141.1-29с
  • Длина 2260 мм.
  • Ширина 1790 мм.
  • Высота 220 мм.
  • Вес 1225 кг.
  • Объем бетона 0,49 м3
  • Геометрический объем 0,89 м3
Цена: 9506 руб.
Подробнее
ПК 23-18-6 ВрIт с9 (1.141.1-29с)
Плиты перекрытия многопустотные Серия 1.141.1-29с
  • Длина 2260 мм.
  • Ширина 1790 мм.
  • Высота 220 мм.
  • Вес 1225 кг.
  • Объем бетона 0,49 м3
  • Геометрический объем 0,89 м3
Цена: 9506 руб.
Подробнее
ПК 23-18-6 ВрIт с9а (1.141.1-29с)
Плиты перекрытия многопустотные Серия 1.141.1-29с
  • Длина 2260 мм.
  • Ширина 1790 мм.
  • Высота 220 мм.
  • Вес 1275 кг.
  • Объем бетона 0,52 м3
  • Геометрический объем 0,89 м3
Цена: 10088 руб.
Подробнее
ПК 23-18-6 ВрIт с8а (1.141.1-29с)
Плиты перекрытия многопустотные Серия 1.141.1-29с
  • Длина 2260 мм.
  • Ширина 1790 мм.
  • Высота 220 мм.
  • Вес 1275 кг.
  • Объем бетона 0,52 м3
  • Геометрический объем 0,89 м3
Цена: 10088 руб.
Подробнее
ПК 23-18-8 ВрIт с7 (1.141.1-29с)
Плиты перекрытия многопустотные Серия 1.141.1-29с
  • Длина 2260 мм.
  • Ширина 1790 мм.
  • Высота 220 мм.
  • Вес 1225 кг.
  • Объем бетона 0,49 м3
  • Геометрический объем 0,89 м3
Цена: 9506 руб.
Подробнее
ПК 23-18-8 ВрIт с7а (1.141.1-29с)
Плиты перекрытия многопустотные Серия 1.141.1-29с
  • Длина 2260 мм.
  • Ширина 1790 мм.
  • Высота 220 мм.
  • Вес 1275 кг.
  • Объем бетона 0,52 м3
  • Геометрический объем 0,89 м3
Цена: 10088 руб.
Подробнее
ПК 23-18-8 ВрIт с8 (1.141.1-29с)
Плиты перекрытия многопустотные Серия 1.141.1-29с
  • Длина 2260 мм.
  • Ширина 1790 мм.
  • Высота 220 мм.
  • Вес 1225 кг.
  • Объем бетона 0,49 м3
  • Геометрический объем 0,89 м3
Цена: 9506 руб.
Подробнее
ПК 23-18-8 ВрIт с8а (1.141.1-29с)
Плиты перекрытия многопустотные Серия 1.141.1-29с
  • Длина 2260 мм.
  • Ширина 1790 мм.
  • Высота 220 мм.
  • Вес 1275 кг.
  • Объем бетона 0,52 м3
  • Геометрический объем 0,89 м3
Цена: 10088 руб.
Подробнее
ПК 23-18-8 ВрIт с9а (1.141.1-29с)
Плиты перекрытия многопустотные Серия 1.141.1-29с
  • Длина 2260 мм.
  • Ширина 1790 мм.
  • Высота 220 мм.
  • Вес 1275 кг.
  • Объем бетона 0,52 м3
  • Геометрический объем 0,89 м3
Цена: 10088 руб.
Подробнее
ПК 23-18-8 ВрIт с9 (1.141.1-29с)
Плиты перекрытия многопустотные Серия 1.141.1-29с
  • Длина 2260 мм.
  • Ширина 1790 мм.
  • Высота 220 мм.
  • Вес 1225 кг.
  • Объем бетона 0,49 м3
  • Геометрический объем 0,89 м3
Цена: 9506 руб.
Подробнее
ПК 29-10-3 ВрIт с7а (1.141.1-29с)
Плиты перекрытия многопустотные Серия 1.141.1-29с
  • Длина 2860 мм.
  • Ширина 990 мм.
  • Высота 220 мм.
  • Вес 850 кг.
  • Объем бетона 0,34 м3
  • Геометрический объем 0,6229 м3
Цена: 6596 руб.
Подробнее
ПК 29-10-3 ВрIт с7 (1.141.1-29с)
Плиты перекрытия многопустотные Серия 1.141.1-29с
  • Длина 2860 мм.
  • Ширина 990 мм.
  • Высота 220 мм.
  • Вес 825 кг.
  • Объем бетона 0,33 м3
  • Геометрический объем 0,6229 м3
Цена: 6402 руб.
Подробнее
ПК 29-10-3 ВрIт с8 (1.141.1-29с)
Плиты перекрытия многопустотные Серия 1.141.1-29с
  • Длина 2860 мм.
  • Ширина 990 мм.
  • Высота 220 мм.
  • Вес 825 кг.
  • Объем бетона 0,33 м3
  • Геометрический объем 0,6229 м3
Цена: 6402 руб.
Подробнее
ПК 29-10-3 ВрIт с8а (1.141.1-29с)
Плиты перекрытия многопустотные Серия 1.141.1-29с
  • Длина 2860 мм.
  • Ширина 990 мм.
  • Высота 220 мм.
  • Вес 850 кг.
  • Объем бетона 0,34 м3
  • Геометрический объем 0,6229 м3
Цена: 6596 руб.
Подробнее
ПК 29-10-3 ВрIт с9 (1.141.1-29с)
Плиты перекрытия многопустотные Серия 1.141.1-29с
  • Длина 2860 мм.
  • Ширина 990 мм.
  • Высота 220 мм.
  • Вес 825 кг.
  • Объем бетона 0,33 м3
  • Геометрический объем 0,6229 м3
Цена: 6402 руб.
Подробнее
ПК 29-10-4 ВрIт с7 (1.141.1-29с)
Плиты перекрытия многопустотные Серия 1.141.1-29с
  • Длина 2860 мм.
  • Ширина 990 мм.
  • Высота 220 мм.
  • Вес 825 кг.
  • Объем бетона 0,33 м3
  • Геометрический объем 0,6229 м3
Цена: 6402 руб.
Подробнее
ПК 29-10-3 ВрIт с9а (1.141.1-29с)
Плиты перекрытия многопустотные Серия 1.141.1-29с
  • Длина 2860 мм.
  • Ширина 990 мм.
  • Высота 220 мм.
  • Вес 850 кг.
  • Объем бетона 0,34 м3
  • Геометрический объем 0,6229 м3
Цена: 6596 руб.
Подробнее
ПК 29-10-4 ВрIт с8 (1.141.1-29с)
Плиты перекрытия многопустотные Серия 1.141.1-29с
  • Длина 2860 мм.
  • Ширина 990 мм.
  • Высота 220 мм.
  • Вес 825 кг.
  • Объем бетона 0,33 м3
  • Геометрический объем 0,6229 м3
Цена: 6402 руб.
Подробнее
ПК 29-10-4 ВрIт с7а (1.141.1-29с)
Плиты перекрытия многопустотные Серия 1.141.1-29с
  • Длина 2860 мм.
  • Ширина 990 мм.
  • Высота 220 мм.
  • Вес 850 кг.
  • Объем бетона 0,34 м3
  • Геометрический объем 0,6229 м3
Цена: 6596 руб.
Подробнее
ПК 29-10-4 ВрIт с8а (1.141.1-29с)
Плиты перекрытия многопустотные Серия 1.141.1-29с
  • Длина 2860 мм.
  • Ширина 990 мм.
  • Высота 220 мм.
  • Вес 850 кг.
  • Объем бетона 0,34 м3
  • Геометрический объем 0,6229 м3
Цена: 6596 руб.
Подробнее
ПК 29-10-4 ВрIт с9 (1.141.1-29с)
Плиты перекрытия многопустотные Серия 1.141.1-29с
  • Длина 2860 мм.
  • Ширина 990 мм.
  • Высота 220 мм.
  • Вес 825 кг.
  • Объем бетона 0,33 м3
  • Геометрический объем 0,6229 м3
Цена: 6402 руб.
Подробнее
ПК 29-10-4 ВрIт с9а (1.141.1-29с)
Плиты перекрытия многопустотные Серия 1.141.1-29с
  • Длина 2860 мм.
  • Ширина 990 мм.
  • Высота 220 мм.
  • Вес 850 кг.
  • Объем бетона 0,34 м3
  • Геометрический объем 0,6229 м3
Цена: 6596 руб.
Подробнее
ПК 29-10-6 ВрIт с7а (1.141.1-29с)
Плиты перекрытия многопустотные Серия 1.141.1-29с
  • Длина 2860 мм.
  • Ширина 990 мм.
  • Высота 220 мм.
  • Вес 850 кг.
  • Объем бетона 0,34 м3
  • Геометрический объем 0,6229 м3
Цена: 6596 руб.
Подробнее
ПК 29-10-6 ВрIт с7 (1.141.1-29с)
Плиты перекрытия многопустотные Серия 1.141.1-29с
  • Длина 2860 мм.
  • Ширина 990 мм.
  • Высота 220 мм.
  • Вес 825 кг.
  • Объем бетона 0,33 м3
  • Геометрический объем 0,6229 м3
Цена: 6402 руб.
Подробнее
ПК 29-10-6 ВрIт с8а (1.141.1-29с)
Плиты перекрытия многопустотные Серия 1.141.1-29с
  • Длина 2860 мм.
  • Ширина 990 мм.
  • Высота 220 мм.
  • Вес 850 кг.
  • Объем бетона 0,34 м3
  • Геометрический объем 0,6229 м3
Цена: 6596 руб.
Подробнее
ПК 29-10-6 ВрIт с8 (1.141.1-29с)
Плиты перекрытия многопустотные Серия 1.141.1-29с
  • Длина 2860 мм.
  • Ширина 990 мм.
  • Высота 220 мм.
  • Вес 825 кг.
  • Объем бетона 0,33 м3
  • Геометрический объем 0,6229 м3
Цена: 6402 руб.
Подробнее
ПК 29-10-6 ВрIт с9 (1.141.1-29с)
Плиты перекрытия многопустотные Серия 1.141.1-29с
  • Длина 2860 мм.
  • Ширина 990 мм.
  • Высота 220 мм.
  • Вес 825 кг.
  • Объем бетона 0,33 м3
  • Геометрический объем 0,6229 м3
Цена: 6402 руб.
Подробнее
ПК 29-10-6 ВрIт с9а (1.141.1-29с)
Плиты перекрытия многопустотные Серия 1.141.1-29с
  • Длина 2860 мм.
  • Ширина 990 мм.
  • Высота 220 мм.
  • Вес 850 кг.
  • Объем бетона 0,34 м3
  • Геометрический объем 0,6229 м3
Цена: 6596 руб.
Подробнее
ПК 29-10-8 ВрIт с7 (1.141.1-29с)
Плиты перекрытия многопустотные Серия 1.141.1-29с
  • Длина 2860 мм.
  • Ширина 990 мм.
  • Высота 220 мм.
  • Вес 825 кг.
  • Объем бетона 0,33 м3
  • Геометрический объем 0,6229 м3
Цена: 6402 руб.
Подробнее
ПК 29-10-8 ВрIт с8а (1.141.1-29с)
Плиты перекрытия многопустотные Серия 1.141.1-29с
  • Длина 2860 мм.
  • Ширина 990 мм.
  • Высота 220 мм.
  • Вес 850 кг.
  • Объем бетона 0,34 м3
  • Геометрический объем 0,6229 м3
Цена: 6596 руб.
Подробнее
ПК 29-10-8 ВрIт с7а (1.141.1-29с)
Плиты перекрытия многопустотные Серия 1.141.1-29с
  • Длина 2860 мм.
  • Ширина 990 мм.
  • Высота 220 мм.
  • Вес 850 кг.
  • Объем бетона 0,34 м3
  • Геометрический объем 0,6229 м3
Цена: 6596 руб.
Подробнее
ПК 29-10-8 ВрIт с8 (1.141.1-29с)
Плиты перекрытия многопустотные Серия 1.141.1-29с
  • Длина 2860 мм.
  • Ширина 990 мм.
  • Высота 220 мм.
  • Вес 825 кг.
  • Объем бетона 0,33 м3
  • Геометрический объем 0,6229 м3
Цена: 6402 руб.
Подробнее
ПК 29-10-8 ВрIт с9 (1.141.1-29с)
Плиты перекрытия многопустотные Серия 1.141.1-29с
  • Длина 2860 мм.
  • Ширина 990 мм.
  • Высота 220 мм.
  • Вес 825 кг.
  • Объем бетона 0,33 м3
  • Геометрический объем 0,6229 м3
Цена: 6402 руб.
Подробнее
ПК 29-10-8 ВрIт с9а (1.141.1-29с)
Плиты перекрытия многопустотные Серия 1.141.1-29с
  • Длина 2860 мм.
  • Ширина 990 мм.
  • Высота 220 мм.
  • Вес 850 кг.
  • Объем бетона 0,34 м3
  • Геометрический объем 0,6229 м3
Цена: 6596 руб.
Подробнее

Уведомление о файлах cookie

Мы используем файлы cookie для улучшения вашего опыта просмотра и анализа трафика. Нажимая "Принять все", вы соглашаетесь с нашей политикой конфиденциальности и политикой обработки файлов cookie.

MAX Дзен Телеграм Вконтакте vk