mobile_sound +7 (930) 655-55-90

Типовые конструкции и железобетонные изделия. Рабочие чертежи (Серия 1.141.1-23с)

Поделиться:
Поделиться:

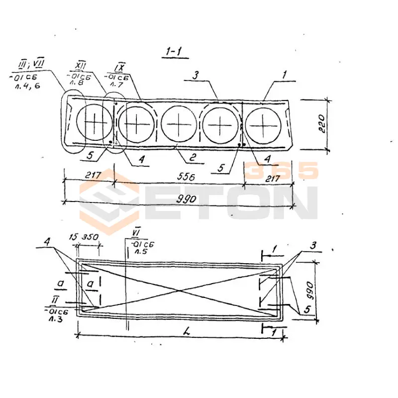
Документ Серия 1.141.1-23с описывает область применения, номенклатуру и ключевые требования, опираясь на действующие нормы и практику проектирования. При развитии строительной сферы и накоплении опыта проектирования для решения ряда ситуаций возникла потребность в создании новых нормативных документов типовых конструкций. Институтом ТишЗНИИЭП был разработан и введён в действие в действие в 1984 году регламент Серия 1.141.1-23с, распространяющийся на многопустотные панели. Конструкции применяются в качестве межэтажных перекрытий при строительстве многоэтажных жилых домов и общественных зданий различного назначения.

Файлы для скачивания:
picture_as_pdf

4885.pdf

2,280.7 KB

скачать
picture_as_pdf

4886.pdf

901.5 KB

скачать
picture_as_pdf

4887.pdf

964.6 KB

скачать
picture_as_pdf

4888.pdf

963.8 KB

скачать
picture_as_pdf

4889.pdf

1,558.1 KB

скачать
picture_as_pdf

4890.pdf

1,841.8 KB

скачать
Товары Серия 1.141.1-23с (60)
ПК 3-36-15 с7 (1.141.1-23с)
Плиты многопустотные Серия 1.141.1-23с
  • Длина 3580 мм.
  • Ширина 1490 мм.
  • Высота 220 мм.
  • Вес 1525 кг.
  • Объем бетона 0,61 м3
  • Геометрический объем 1,1735 м3
Цена: 10651 руб.
Подробнее
ПК 3-36-15 с8 (1.141.1-23с)
Плиты многопустотные Серия 1.141.1-23с
  • Длина 3580 мм.
  • Ширина 1490 мм.
  • Высота 220 мм.
  • Вес 1525 кг.
  • Объем бетона 0,61 м3
  • Геометрический объем 1,1735 м3
Цена: 10651 руб.
Подробнее
ПК 3-36-15 с7а (1.141.1-23с)
Плиты многопустотные Серия 1.141.1-23с
  • Длина 3580 мм.
  • Ширина 1490 мм.
  • Высота 220 мм.
  • Вес 1575 кг.
  • Объем бетона 0,63 м3
  • Геометрический объем 1,1735 м3
Цена: 11000 руб.
Подробнее
ПК 3-36-15 с8а (1.141.1-23с)
Плиты многопустотные Серия 1.141.1-23с
  • Длина 3580 мм.
  • Ширина 1490 мм.
  • Высота 220 мм.
  • Вес 1575 кг.
  • Объем бетона 0,63 м3
  • Геометрический объем 1,1735 м3
Цена: 11000 руб.
Подробнее
ПК 3-36-15 с9 (1.141.1-23с)
Плиты многопустотные Серия 1.141.1-23с
  • Длина 3580 мм.
  • Ширина 1490 мм.
  • Высота 220 мм.
  • Вес 1525 кг.
  • Объем бетона 0,61 м3
  • Геометрический объем 1,1735 м3
Цена: 10651 руб.
Подробнее
ПК 3-36-15 с9а (1.141.1-23с)
Плиты многопустотные Серия 1.141.1-23с
  • Длина 3580 мм.
  • Ширина 1490 мм.
  • Высота 220 мм.
  • Вес 1575 кг.
  • Объем бетона 0,63 м3
  • Геометрический объем 1,1735 м3
Цена: 11000 руб.
Подробнее
ПК 3-36-18 с8а (1.141.1-23с)
Плиты многопустотные Серия 1.141.1-23с
  • Длина 3580 мм.
  • Ширина 1790 мм.
  • Высота 220 мм.
  • Вес 1975 кг.
  • Объем бетона 0,79 м3
  • Геометрический объем 1,4098 м3
Цена: 13793 руб.
Подробнее
ПК 3-36-18 с7 (1.141.1-23с)
Плиты многопустотные Серия 1.141.1-23с
  • Длина 3580 мм.
  • Ширина 1790 мм.
  • Высота 220 мм.
  • Вес 1900 кг.
  • Объем бетона 0,76 м3
  • Геометрический объем 1,4098 м3
Цена: 13270 руб.
Подробнее
ПК 3-36-18 с9 (1.141.1-23с)
Плиты многопустотные Серия 1.141.1-23с
  • Длина 3580 мм.
  • Ширина 1790 мм.
  • Высота 220 мм.
  • Вес 1900 кг.
  • Объем бетона 0,76 м3
  • Геометрический объем 1,4098 м3
Цена: 13270 руб.
Подробнее
ПК 3-36-18 с7а (1.141.1-23с)
Плиты многопустотные Серия 1.141.1-23с
  • Длина 3580 мм.
  • Ширина 1790 мм.
  • Высота 220 мм.
  • Вес 1975 кг.
  • Объем бетона 0,79 м3
  • Геометрический объем 1,4098 м3
Цена: 13793 руб.
Подробнее
ПК 3-36-18 с8 (1.141.1-23с)
Плиты многопустотные Серия 1.141.1-23с
  • Длина 3580 мм.
  • Ширина 1790 мм.
  • Высота 220 мм.
  • Вес 1900 кг.
  • Объем бетона 0,76 м3
  • Геометрический объем 1,4098 м3
Цена: 13270 руб.
Подробнее
ПК 3-36-18 с9а (1.141.1-23с)
Плиты многопустотные Серия 1.141.1-23с
  • Длина 3580 мм.
  • Ширина 1790 мм.
  • Высота 220 мм.
  • Вес 1975 кг.
  • Объем бетона 0,79 м3
  • Геометрический объем 1,4098 м3
Цена: 13793 руб.
Подробнее
ПК 4,5-24-10 с7 (1.141.1-23с)
Плиты многопустотные Серия 1.141.1-23с
  • Длина 2380 мм.
  • Ширина 990 мм.
  • Высота 220 мм.
  • Вес 700 кг.
  • Объем бетона 0,28 м3
  • Геометрический объем 0,5184 м3
Цена: 4889 руб.
Подробнее
ПК 4,5-24-10 с7а (1.141.1-23с)
Плиты многопустотные Серия 1.141.1-23с
  • Длина 2380 мм.
  • Ширина 990 мм.
  • Высота 220 мм.
  • Вес 725 кг.
  • Объем бетона 0,29 м3
  • Геометрический объем 0,5184 м3
Цена: 5063 руб.
Подробнее
ПК 4,5-24-10 с8 (1.141.1-23с)
Плиты многопустотные Серия 1.141.1-23с
  • Длина 2380 мм.
  • Ширина 990 мм.
  • Высота 220 мм.
  • Вес 700 кг.
  • Объем бетона 0,28 м3
  • Геометрический объем 0,5184 м3
Цена: 4889 руб.
Подробнее
ПК 4,5-24-10 с8а (1.141.1-23с)
Плиты многопустотные Серия 1.141.1-23с
  • Длина 2380 мм.
  • Ширина 990 мм.
  • Высота 220 мм.
  • Вес 725 кг.
  • Объем бетона 0,29 м3
  • Геометрический объем 0,5184 м3
Цена: 5063 руб.
Подробнее
ПК 4,5-24-10 с9 (1.141.1-23с)
Плиты многопустотные Серия 1.141.1-23с
  • Длина 2380 мм.
  • Ширина 990 мм.
  • Высота 220 мм.
  • Вес 700 кг.
  • Объем бетона 0,28 м3
  • Геометрический объем 0,5184 м3
Цена: 4889 руб.
Подробнее
ПК 4,5-24-10 с9а (1.141.1-23с)
Плиты многопустотные Серия 1.141.1-23с
  • Длина 2380 мм.
  • Ширина 990 мм.
  • Высота 220 мм.
  • Вес 725 кг.
  • Объем бетона 0,29 м3
  • Геометрический объем 0,5184 м3
Цена: 5063 руб.
Подробнее
ПК 4,5-24-12 с7 (1.141.1-23с)
Плиты многопустотные Серия 1.141.1-23с
  • Длина 2380 мм.
  • Ширина 1190 мм.
  • Высота 220 мм.
  • Вес 875 кг.
  • Объем бетона 0,35 м3
  • Геометрический объем 0,6231 м3
Цена: 6111 руб.
Подробнее
ПК 4,5-24-12 с7а (1.141.1-23с)
Плиты многопустотные Серия 1.141.1-23с
  • Длина 2380 мм.
  • Ширина 1190 мм.
  • Высота 220 мм.
  • Вес 925 кг.
  • Объем бетона 0,37 м3
  • Геометрический объем 0,6231 м3
Цена: 6460 руб.
Подробнее
ПК 4,5-24-12 с8 (1.141.1-23с)
Плиты многопустотные Серия 1.141.1-23с
  • Длина 2380 мм.
  • Ширина 1190 мм.
  • Высота 220 мм.
  • Вес 875 кг.
  • Объем бетона 0,35 м3
  • Геометрический объем 0,6231 м3
Цена: 6111 руб.
Подробнее
ПК 4,5-24-12 с9а (1.141.1-23с)
Плиты многопустотные Серия 1.141.1-23с
  • Длина 2380 мм.
  • Ширина 1190 мм.
  • Высота 220 мм.
  • Вес 925 кг.
  • Объем бетона 0,37 м3
  • Геометрический объем 0,6231 м3
Цена: 6460 руб.
Подробнее
ПК 4,5-24-12 с8а (1.141.1-23с)
Плиты многопустотные Серия 1.141.1-23с
  • Длина 2380 мм.
  • Ширина 1190 мм.
  • Высота 220 мм.
  • Вес 925 кг.
  • Объем бетона 0,37 м3
  • Геометрический объем 0,6231 м3
Цена: 6460 руб.
Подробнее
ПК 4,5-24-12 с9 (1.141.1-23с)
Плиты многопустотные Серия 1.141.1-23с
  • Длина 2380 мм.
  • Ширина 1190 мм.
  • Высота 220 мм.
  • Вес 875 кг.
  • Объем бетона 0,35 м3
  • Геометрический объем 0,6231 м3
Цена: 6111 руб.
Подробнее
ПК 4,5-24-15 с7а (1.141.1-23с)
Плиты многопустотные Серия 1.141.1-23с
  • Длина 2380 мм.
  • Ширина 1490 мм.
  • Высота 220 мм.
  • Вес 1175 кг.
  • Объем бетона 0,47 м3
  • Геометрический объем 0,7802 м3
Цена: 8206 руб.
Подробнее
ПК 4,5-24-15 с7 (1.141.1-23с)
Плиты многопустотные Серия 1.141.1-23с
  • Длина 2380 мм.
  • Ширина 1490 мм.
  • Высота 220 мм.
  • Вес 1125 кг.
  • Объем бетона 0,45 м3
  • Геометрический объем 0,7802 м3
Цена: 7857 руб.
Подробнее
ПК 4,5-24-15 с8 (1.141.1-23с)
Плиты многопустотные Серия 1.141.1-23с
  • Длина 2380 мм.
  • Ширина 1490 мм.
  • Высота 220 мм.
  • Вес 1125 кг.
  • Объем бетона 0,45 м3
  • Геометрический объем 0,7802 м3
Цена: 7857 руб.
Подробнее
ПК 4,5-24-15 с9 (1.141.1-23с)
Плиты многопустотные Серия 1.141.1-23с
  • Длина 2380 мм.
  • Ширина 1490 мм.
  • Высота 220 мм.
  • Вес 1125 кг.
  • Объем бетона 0,45 м3
  • Геометрический объем 0,7802 м3
Цена: 7857 руб.
Подробнее
ПК 4,5-24-15 с8а (1.141.1-23с)
Плиты многопустотные Серия 1.141.1-23с
  • Длина 2380 мм.
  • Ширина 1490 мм.
  • Высота 220 мм.
  • Вес 1175 кг.
  • Объем бетона 0,47 м3
  • Геометрический объем 0,7802 м3
Цена: 8206 руб.
Подробнее
ПК 4,5-24-15 с9а (1.141.1-23с)
Плиты многопустотные Серия 1.141.1-23с
  • Длина 2380 мм.
  • Ширина 1490 мм.
  • Высота 220 мм.
  • Вес 1175 кг.
  • Объем бетона 0,47 м3
  • Геометрический объем 0,7802 м3
Цена: 8206 руб.
Подробнее
ПК 4,5-24-18 с8 (1.141.1-23с)
Плиты многопустотные Серия 1.141.1-23с
  • Длина 2380 мм.
  • Ширина 1790 мм.
  • Высота 220 мм.
  • Вес 1275 кг.
  • Объем бетона 0,51 м3
  • Геометрический объем 0,9372 м3
Цена: 8905 руб.
Подробнее
ПК 4,5-24-18 с8а (1.141.1-23с)
Плиты многопустотные Серия 1.141.1-23с
  • Длина 2380 мм.
  • Ширина 1790 мм.
  • Высота 220 мм.
  • Вес 1350 кг.
  • Объем бетона 0,54 м3
  • Геометрический объем 0,9372 м3
Цена: 9428 руб.
Подробнее
ПК 4,5-24-18 с7 (1.141.1-23с)
Плиты многопустотные Серия 1.141.1-23с
  • Длина 2380 мм.
  • Ширина 1790 мм.
  • Высота 220 мм.
  • Вес 1275 кг.
  • Объем бетона 0,51 м3
  • Геометрический объем 0,9372 м3
Цена: 8905 руб.
Подробнее
ПК 4,5-24-18 с7а (1.141.1-23с)
Плиты многопустотные Серия 1.141.1-23с
  • Длина 2380 мм.
  • Ширина 1790 мм.
  • Высота 220 мм.
  • Вес 1350 кг.
  • Объем бетона 0,54 м3
  • Геометрический объем 0,9372 м3
Цена: 9428 руб.
Подробнее
ПК 4,5-24-18 с9а (1.141.1-23с)
Плиты многопустотные Серия 1.141.1-23с
  • Длина 2380 мм.
  • Ширина 1790 мм.
  • Высота 220 мм.
  • Вес 1350 кг.
  • Объем бетона 0,54 м3
  • Геометрический объем 0,9372 м3
Цена: 9428 руб.
Подробнее
ПК 4,5-30-10 с7 (1.141.1-23с)
Плиты многопустотные Серия 1.141.1-23с
  • Длина 2980 мм.
  • Ширина 990 мм.
  • Высота 220 мм.
  • Вес 875 кг.
  • Объем бетона 0,35 м3
  • Геометрический объем 0,649 м3
Цена: 6111 руб.
Подробнее
ПК 4,5-30-10 с7а (1.141.1-23с)
Плиты многопустотные Серия 1.141.1-23с
  • Длина 2980 мм.
  • Ширина 990 мм.
  • Высота 220 мм.
  • Вес 900 кг.
  • Объем бетона 0,36 м3
  • Геометрический объем 0,649 м3
Цена: 6286 руб.
Подробнее
ПК 4,5-24-18 с9 (1.141.1-23с)
Плиты многопустотные Серия 1.141.1-23с
  • Длина 2380 мм.
  • Ширина 1790 мм.
  • Высота 220 мм.
  • Вес 1275 кг.
  • Объем бетона 0,51 м3
  • Геометрический объем 0,9372 м3
Цена: 8905 руб.
Подробнее
ПК 4,5-30-10 с9 (1.141.1-23с)
Плиты многопустотные Серия 1.141.1-23с
  • Длина 2980 мм.
  • Ширина 990 мм.
  • Высота 220 мм.
  • Вес 875 кг.
  • Объем бетона 0,35 м3
  • Геометрический объем 0,649 м3
Цена: 6111 руб.
Подробнее
ПК 4,5-30-10 с8а (1.141.1-23с)
Плиты многопустотные Серия 1.141.1-23с
  • Длина 2980 мм.
  • Ширина 990 мм.
  • Высота 220 мм.
  • Вес 900 кг.
  • Объем бетона 0,36 м3
  • Геометрический объем 0,649 м3
Цена: 6286 руб.
Подробнее
ПК 4,5-30-10 с8 (1.141.1-23с)
Плиты многопустотные Серия 1.141.1-23с
  • Длина 2980 мм.
  • Ширина 990 мм.
  • Высота 220 мм.
  • Вес 875 кг.
  • Объем бетона 0,35 м3
  • Геометрический объем 0,649 м3
Цена: 6111 руб.
Подробнее
ПК 4,5-30-12 с7а (1.141.1-23с)
Плиты многопустотные Серия 1.141.1-23с
  • Длина 2980 мм.
  • Ширина 1190 мм.
  • Высота 220 мм.
  • Вес 1100 кг.
  • Объем бетона 0,44 м3
  • Геометрический объем 0,7802 м3
Цена: 7682 руб.
Подробнее
ПК 4,5-30-12 с9 (1.141.1-23с)
Плиты многопустотные Серия 1.141.1-23с
  • Длина 2980 мм.
  • Ширина 1190 мм.
  • Высота 220 мм.
  • Вес 1050 кг.
  • Объем бетона 0,42 м3
  • Геометрический объем 0,7802 м3
Цена: 7333 руб.
Подробнее
ПК 4,5-30-12 с8 (1.141.1-23с)
Плиты многопустотные Серия 1.141.1-23с
  • Длина 2980 мм.
  • Ширина 1190 мм.
  • Высота 220 мм.
  • Вес 1050 кг.
  • Объем бетона 0,42 м3
  • Геометрический объем 0,7802 м3
Цена: 7333 руб.
Подробнее
ПК 4,5-30-12 с8а (1.141.1-23с)
Плиты многопустотные Серия 1.141.1-23с
  • Длина 2980 мм.
  • Ширина 1190 мм.
  • Высота 220 мм.
  • Вес 1100 кг.
  • Объем бетона 0,44 м3
  • Геометрический объем 0,7802 м3
Цена: 7682 руб.
Подробнее
ПК 4,5-30-10 с9а (1.141.1-23с)
Плиты многопустотные Серия 1.141.1-23с
  • Длина 2980 мм.
  • Ширина 990 мм.
  • Высота 220 мм.
  • Вес 900 кг.
  • Объем бетона 0,36 м3
  • Геометрический объем 0,649 м3
Цена: 6286 руб.
Подробнее
ПК 4,5-30-12 с9а (1.141.1-23с)
Плиты многопустотные Серия 1.141.1-23с
  • Длина 2980 мм.
  • Ширина 1190 мм.
  • Высота 220 мм.
  • Вес 1100 кг.
  • Объем бетона 0,44 м3
  • Геометрический объем 0,7802 м3
Цена: 7682 руб.
Подробнее
ПК 4,5-30-12 с7 (1.141.1-23с)
Плиты многопустотные Серия 1.141.1-23с
  • Длина 2980 мм.
  • Ширина 1190 мм.
  • Высота 220 мм.
  • Вес 1050 кг.
  • Объем бетона 0,42 м3
  • Геометрический объем 0,7802 м3
Цена: 7333 руб.
Подробнее
ПК 4,5-30-15 с7 (1.141.1-23с)
Плиты многопустотные Серия 1.141.1-23с
  • Длина 2980 мм.
  • Ширина 1490 мм.
  • Высота 220 мм.
  • Вес 1400 кг.
  • Объем бетона 0,56 м3
  • Геометрический объем 0,9768 м3
Цена: 9778 руб.
Подробнее
ПК 4,5-30-15 с8 (1.141.1-23с)
Плиты многопустотные Серия 1.141.1-23с
  • Длина 2980 мм.
  • Ширина 1490 мм.
  • Высота 220 мм.
  • Вес 1400 кг.
  • Объем бетона 0,56 м3
  • Геометрический объем 0,9768 м3
Цена: 9778 руб.
Подробнее
ПК 4,5-30-15 с7а (1.141.1-23с)
Плиты многопустотные Серия 1.141.1-23с
  • Длина 2980 мм.
  • Ширина 1490 мм.
  • Высота 220 мм.
  • Вес 1450 кг.
  • Объем бетона 0,58 м3
  • Геометрический объем 0,9768 м3
Цена: 10127 руб.
Подробнее
ПК 4,5-30-15 с9а (1.141.1-23с)
Плиты многопустотные Серия 1.141.1-23с
  • Длина 2980 мм.
  • Ширина 1490 мм.
  • Высота 220 мм.
  • Вес 1450 кг.
  • Объем бетона 0,58 м3
  • Геометрический объем 0,9768 м3
Цена: 10127 руб.
Подробнее
ПК 4,5-30-18 с7 (1.141.1-23с)
Плиты многопустотные Серия 1.141.1-23с
  • Длина 2980 мм.
  • Ширина 1790 мм.
  • Высота 220 мм.
  • Вес 1600 кг.
  • Объем бетона 0,64 м3
  • Геометрический объем 1,1735 м3
Цена: 11174 руб.
Подробнее
ПК 4,5-30-15 с8а (1.141.1-23с)
Плиты многопустотные Серия 1.141.1-23с
  • Длина 2980 мм.
  • Ширина 1490 мм.
  • Высота 220 мм.
  • Вес 1450 кг.
  • Объем бетона 0,58 м3
  • Геометрический объем 0,9768 м3
Цена: 10127 руб.
Подробнее
ПК 4,5-30-15 с9 (1.141.1-23с)
Плиты многопустотные Серия 1.141.1-23с
  • Длина 2980 мм.
  • Ширина 1490 мм.
  • Высота 220 мм.
  • Вес 1400 кг.
  • Объем бетона 0,56 м3
  • Геометрический объем 0,9768 м3
Цена: 9778 руб.
Подробнее
ПК 4,5-30-18 с7а (1.141.1-23с)
Плиты многопустотные Серия 1.141.1-23с
  • Длина 2980 мм.
  • Ширина 1790 мм.
  • Высота 220 мм.
  • Вес 1675 кг.
  • Объем бетона 0,67 м3
  • Геометрический объем 1,1735 м3
Цена: 11698 руб.
Подробнее
ПК 4,5-30-18 с8 (1.141.1-23с)
Плиты многопустотные Серия 1.141.1-23с
  • Длина 2980 мм.
  • Ширина 1790 мм.
  • Высота 220 мм.
  • Вес 1600 кг.
  • Объем бетона 0,64 м3
  • Геометрический объем 1,1735 м3
Цена: 11174 руб.
Подробнее
ПК 4,5-30-18 с9а (1.141.1-23с)
Плиты многопустотные Серия 1.141.1-23с
  • Длина 2980 мм.
  • Ширина 1790 мм.
  • Высота 220 мм.
  • Вес 1675 кг.
  • Объем бетона 0,67 м3
  • Геометрический объем 1,1735 м3
Цена: 11698 руб.
Подробнее
ПК 4,5-30-18 с8а (1.141.1-23с)
Плиты многопустотные Серия 1.141.1-23с
  • Длина 2980 мм.
  • Ширина 1790 мм.
  • Высота 220 мм.
  • Вес 1675 кг.
  • Объем бетона 0,67 м3
  • Геометрический объем 1,1735 м3
Цена: 11698 руб.
Подробнее
ПК 4,5-30-18 с9 (1.141.1-23с)
Плиты многопустотные Серия 1.141.1-23с
  • Длина 2980 мм.
  • Ширина 1790 мм.
  • Высота 220 мм.
  • Вес 1600 кг.
  • Объем бетона 0,64 м3
  • Геометрический объем 1,1735 м3
Цена: 11174 руб.
Подробнее

Уведомление о файлах cookie

Мы используем файлы cookie для улучшения вашего опыта просмотра и анализа трафика. Нажимая "Принять все", вы соглашаетесь с нашей политикой конфиденциальности и политикой обработки файлов cookie.

Дзен Телеграм Вконтакте vk