mobile_sound +7 (930) 655-55-90

Техническая документация и чертежи (Альбом РС 5155-95)

Поделиться:
Поделиться:

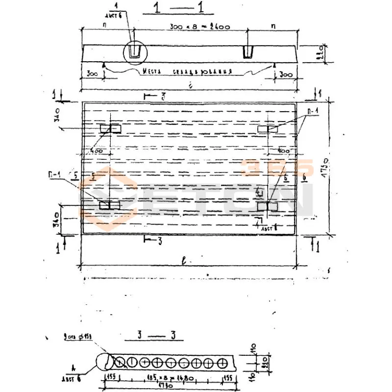
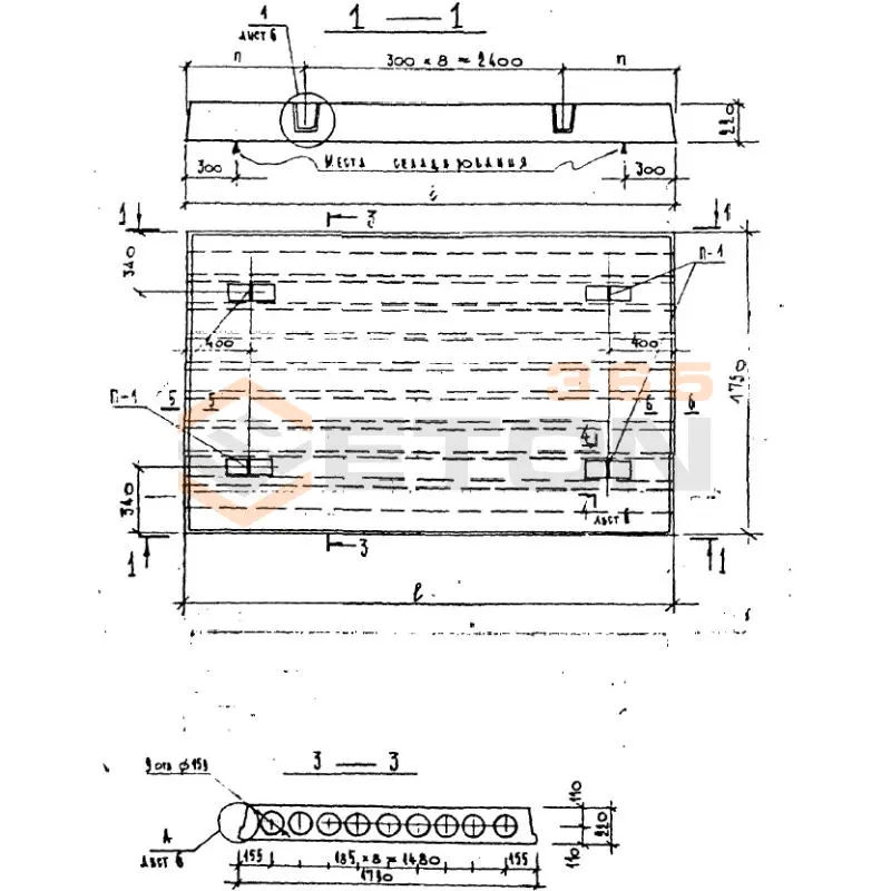
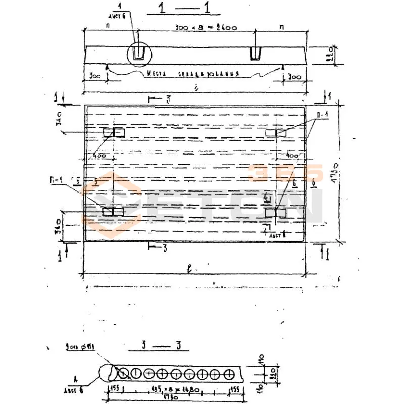
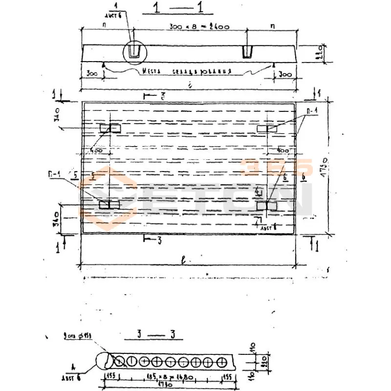
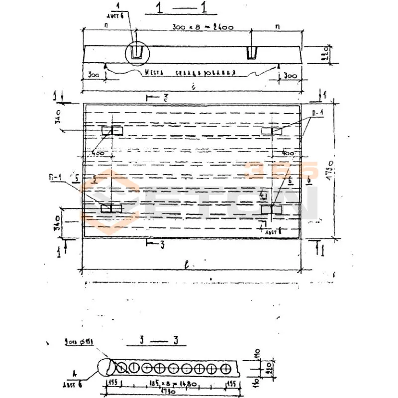
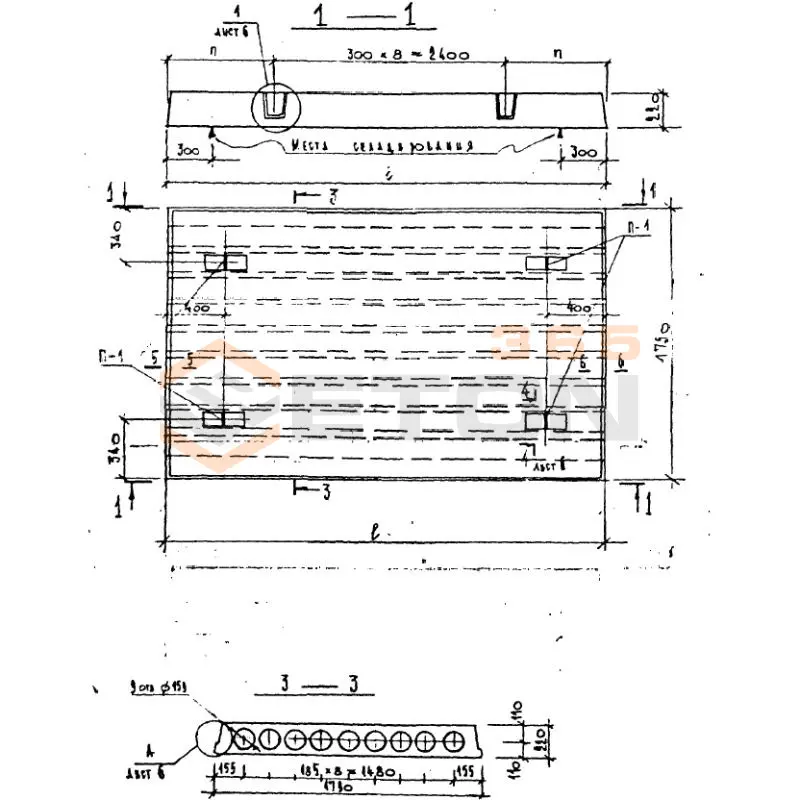
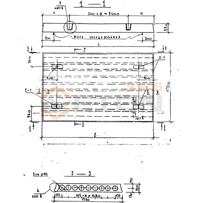
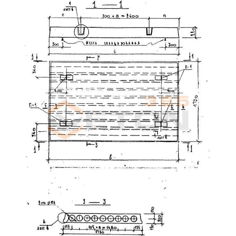
Документ Альбом РС 5155-95 описывает область применения, номенклатуру и ключевые требования, опираясь на действующие нормы и практику проектирования. Альбом РС 5155-95 был введён в действие в 1995 году МНИИТЭП и разрабатывался для территориального строительного каталога железобетонных конструкций каркасных зданий межвидового назначения, имеющих балочный тип перекрытий. В регламенте приведены рабочие чертежи рядовых панелей перекрытия шириной 1,2 и 1,8 метра, применяемых в сооружениях с пролетами от 3 до 4,8 метров. изделия и конструкции запроектированы на эксплуатацию в каркасных и кирпичных зданиях, и позволяют в значительной степени сократить материалоемкость производства.

Файлы для скачивания:
picture_as_pdf

4850.pdf

2,024.3 KB

скачать
Товары Альбом РС 5155-95 (16)
НВ 28-12 в
Панели перекрытий многопустотные Альбом РС 5155-95
  • Длина 2760 мм.
  • Ширина 1190 мм.
  • Высота 220 мм.
  • Вес 1100 кг.
  • Объем бетона 0,45 м3
  • Геометрический объем 0,7226 м3
Цена: 7857 руб.
Подробнее
НВ 28-12-12 в
Панели перекрытий многопустотные Альбом РС 5155-95
  • Длина 2760 мм.
  • Ширина 1190 мм.
  • Высота 220 мм.
  • Вес 1100 кг.
  • Объем бетона 0,45 м3
  • Геометрический объем 0,7226 м3
Цена: 7857 руб.
Подробнее
НВ 28-18-12
Панели перекрытий многопустотные Альбом РС 5155-95
  • Длина 2760 мм.
  • Ширина 1790 мм.
  • Высота 220 мм.
  • Вес 1500 кг.
  • Объем бетона 0,6 м3
  • Геометрический объем 1,0869 м3
Цена: 10476 руб.
Подробнее
НВ 34-12 в
Панели перекрытий многопустотные Альбом РС 5155-95
  • Длина 3360 мм.
  • Ширина 1190 мм.
  • Высота 220 мм.
  • Вес 1400 кг.
  • Объем бетона 0,55 м3
  • Геометрический объем 0,8796 м3
Цена: 9603 руб.
Подробнее
НВ 28-18
Панели перекрытий многопустотные Альбом РС 5155-95
  • Длина 2760 мм.
  • Ширина 1790 мм.
  • Высота 220 мм.
  • Вес 1500 кг.
  • Объем бетона 0,6 м3
  • Геометрический объем 1,0869 м3
Цена: 10476 руб.
Подробнее
НВ 34-12-12 в
Панели перекрытий многопустотные Альбом РС 5155-95
  • Длина 3360 мм.
  • Ширина 1190 мм.
  • Высота 220 мм.
  • Вес 1400 кг.
  • Объем бетона 0,55 м3
  • Геометрический объем 0,8796 м3
Цена: 9603 руб.
Подробнее
НВ 34-18
Панели перекрытий многопустотные Альбом РС 5155-95
  • Длина 3360 мм.
  • Ширина 1790 мм.
  • Высота 220 мм.
  • Вес 1800 кг.
  • Объем бетона 0,73 м3
  • Геометрический объем 1,3232 м3
Цена: 12746 руб.
Подробнее
НВ 34-18-12
Панели перекрытий многопустотные Альбом РС 5155-95
  • Длина 3360 мм.
  • Ширина 1790 мм.
  • Высота 220 мм.
  • Вес 1800 кг.
  • Объем бетона 0,73 м3
  • Геометрический объем 1,3232 м3
Цена: 12746 руб.
Подробнее
НВ 40-12 в
Панели перекрытий многопустотные Альбом РС 5155-95
  • Длина 3960 мм.
  • Ширина 1190 мм.
  • Высота 220 мм.
  • Вес 1600 кг.
  • Объем бетона 0,65 м3
  • Геометрический объем 1,0367 м3
Цена: 11349 руб.
Подробнее
НВ 40-18
Панели перекрытий многопустотные Альбом РС 5155-95
  • Длина 3960 мм.
  • Ширина 1790 мм.
  • Высота 220 мм.
  • Вес 2200 кг.
  • Объем бетона 0,86 м3
  • Геометрический объем 1,5594 м3
Цена: 15016 руб.
Подробнее
НВ 46-12 в
Панели перекрытий многопустотные Альбом РС 5155-95
  • Длина 4560 мм.
  • Ширина 1190 мм.
  • Высота 220 мм.
  • Вес 1900 кг.
  • Объем бетона 0,74 м3
  • Геометрический объем 1,1938 м3
Цена: 12920 руб.
Подробнее
НВ 40-12-12 в
Панели перекрытий многопустотные Альбом РС 5155-95
  • Длина 3960 мм.
  • Ширина 1190 мм.
  • Высота 220 мм.
  • Вес 1600 кг.
  • Объем бетона 0,65 м3
  • Геометрический объем 1,0367 м3
Цена: 11349 руб.
Подробнее
НВ 40-18-12
Панели перекрытий многопустотные Альбом РС 5155-95
  • Длина 3960 мм.
  • Ширина 1790 мм.
  • Высота 220 мм.
  • Вес 2200 кг.
  • Объем бетона 0,86 м3
  • Геометрический объем 1,5594 м3
Цена: 15016 руб.
Подробнее
НВ 46-12-12 в
Панели перекрытий многопустотные Альбом РС 5155-95
  • Длина 4560 мм.
  • Ширина 1190 мм.
  • Высота 220 мм.
  • Вес 1900 кг.
  • Объем бетона 0,74 м3
  • Геометрический объем 1,1938 м3
Цена: 12920 руб.
Подробнее
НВ 46-18
Панели перекрытий многопустотные Альбом РС 5155-95
  • Длина 4560 мм.
  • Ширина 1790 мм.
  • Высота 220 мм.
  • Вес 2500 кг.
  • Объем бетона 0,99 м3
  • Геометрический объем 1,7957 м3
Цена: 17285 руб.
Подробнее
НВ 46-18-12
Панели перекрытий многопустотные Альбом РС 5155-95
  • Длина 4560 мм.
  • Ширина 1790 мм.
  • Высота 220 мм.
  • Вес 2500 кг.
  • Объем бетона 0,99 м3
  • Геометрический объем 1,7957 м3
Цена: 17285 руб.
Подробнее

Уведомление о файлах cookie

Мы используем файлы cookie для улучшения вашего опыта просмотра и анализа трафика. Нажимая "Принять все", вы соглашаетесь с нашей политикой конфиденциальности и политикой обработки файлов cookie.

Дзен Телеграм Вконтакте vk